气流粉碎机主要适用于的粉碎机理决定了其适用范围广、成品细度高等特点,典型的物料有:超硬的金刚石、碳化硅、金属粉末等,高纯要求的:陶瓷色料、医药、生化等,低温要求的:医药、PVC。通过将气源部份的普通空气变更为氮气、二氧化碳气等惰性气体,可使本机成为惰性气体保护设备,适用于易燃易爆、易氧化等物料的粉碎分级加工。

工作原理
气流粉碎机与旋风分离器、除尘器、引风机组成一整套粉碎系统。压缩空气经过滤干燥后,通过拉瓦尔喷嘴高速喷射入粉碎腔,在多股高压气流的交汇点处物料被反复碰撞、磨擦、剪切而粉碎,粉碎后的物料在风机抽力作用下随上升气流运动至分级区,在高速旋转的分级涡轮产生的强大离心力作用下,使粗细物料分离,符合粒度要求的细颗粒通过分级轮进入旋风分离器和除尘器收集,粗颗粒下降至粉碎区继续粉碎。
产品分类
我国工业上应用的气流粉碎机主要有一下几种类型:扁平式气流磨、流化床对喷式气流磨、循环管式气流磨、对喷式气流磨、靶式气流磨。这几种类型气流粉碎机中又以扁平式气流磨、流化床对喷式气流磨、循环管式气流磨应用较为广泛。
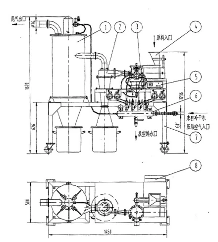
对喷式气流磨
物料通过螺旋进料器进入粉碎腔后,由数个相对设置的喷嘴喷汇出高速气流冲击能,及气流急速膨胀呈流化床悬浮沸腾而产生的碰撞、摩擦力对物料进行粉碎。粗细混合粉在负压气流带动下通过顶部设置的涡轮分级装置,细粉强制通过分级装置,并由旋风收集器及布袋除尘器捕集,粗粉受重力以及高速旋转的分级装置产生的离心力甩向四壁并沉降返回粉碎腔继续粉碎。
扁平式气流磨
作为粉碎动能的高压气流进入粉碎腔外围的稳压储气包作为气流分配站,该气流经过拉瓦尔喷嘴加速成超音速气流后进入粉碎磨腔,同时物料经文丘里喷嘴加速导入粉碎磨腔内进行同步粉碎。由于拉瓦尔喷嘴与粉碎腔安装成一锐角,因此该高速喷射流在粉碎腔内带动物料做循环运动,颗粒之间以及颗粒与固定靶板壁面产生相互冲击、碰撞、摩擦而粉碎。微细颗粒在向心气流带动下被导入粉碎机中心出口管道进入旋风分离器进行收集,粗粉在离心力的作用下被甩向粉碎腔周壁做循环运动并继续粉碎。
循环管式气流磨
原料由文丘里喷嘴加入粉碎腔,高压气流经一组喷嘴喷入不等径变曲率的跑道形循环管式粉碎腔,加速颗粒使之相互冲击、碰撞、摩擦而粉碎。同时旋流还带动被粉碎颗粒沿管道向上进入分级区,在分级区离心力场的作用下使密集的料流分流,细颗粒在内层经百叶窗式惯性分级器分级后排出。粗颗粒在外层沿下行管返回继续循环粉碎。
流化床式气流磨
气流粉碎机(流化床式气流磨)是压缩空气经拉瓦尔喷咀加速成超音速气流后射入粉碎区使物料呈流态化(气流膨胀呈流态化床悬浮沸腾而互相碰撞),因此每一个颗粒具有相同的运动状态。在粉碎区,被加速的颗粒在各喷咀交汇点相互对撞粉碎。粉碎后的物料被上升气流输送至分级区,由水平布置的分级轮筛选出达到粒度要求的细粉,未达到粒度要求的粗粉返回粉碎区继续粉碎。合格细粉随气流进入高效旋风分离器得到收集,含尘气体经收尘器过滤净化后排入大气。
性能特点
内含立式分级装置,产品粒度D97:8-150微米之间可调,粒形好,粒度分布窄。
可与多级分级机串联使用,一次生产多个粒度段的产品。
设备拆装清洗方便,内壁光滑无死角。
整套系统密闭粉碎,粉尘少,噪音低,生产过程清洁环保。
控制系统采用程序控制,操作简便。
性能特点
内含卧式分级装置,顶点切割准确,产品粒度D97:2-45微米之间可调,粒形好,粒度分布窄。
低温无介质粉碎,尤其适合于热敏性、低熔点、含糖份及挥发性物料的粉碎。
设备拆装清洗方便,内壁光滑无死角。
整套系统密闭粉碎,粉尘少,噪音低,生产过程清洁环保。
控制系统采用程序控制,操作简便。
技术参数
MQW03 | MQW06 | MQW10 |
入料粒度 mm | <3 | <3 |
产品粒度 d97:um | 2~45 | 2~45 |
生产能力 kg/h | 2~30 | 30~200 |
空气耗量 m3/min | 3 | 6 |
空气压力 Mpa | 0.7~0.85 | 0.7~0.85 |
装机功率 kw | 21.8 | 42.5 |
应用领域
广泛应用于化工、矿物、冶金、磨料、陶瓷、耐火材料、医药、农药、食品、保健品、新材料等行业。
该文章由作者:【姜英杰】发布,本站仅提供存储、如有版权、错误、违法等相关信息请联系,本站会在1个工作日内进行整改,谢谢!
